
2010 – Il differenziale autobloccante. II principio base di un qualsiasi LSD (Limited Slip Differential, cioè differenziale a slittamento limitato), si riconduce all’introduzione di una “frizione” tra i due semiassi, capace di accoppiarli secondo una legge opportuna, mediante l’introduzione di un momento di attrito Mf. In questo modo sarà possibile uno sbilanciamento di coppia tra la ruota con minore aderenza e l’altra, migliorando la capacità di trazione. La maniera più brutale per rendere possibile tale sbilanciamento consiste nell’introduzione di un dispositivo di blocco che renda perfettamente solidali tra loro i due alberi di uscita. Generalmente si blocca il semialbero di una ruota con la scatola del differenziale mediante un manicotto scorrevole (dotato di sincronizzatore) simile agli analoghi impiegati per l’innesto delle marce nei cambi manuali. In figura 1 si riporta lo schema del sistema a comando idraulico adoperato sulla Mercedes classe G: esso consta di un manicotto (4) scorrevole assialmente sulla scanalatura del semialbero (2) recante la dentatura frontale f per l’innesto con la corrispondente dentatura sulla scatola del differenziale (3). Il manicotto viene azionato da un pistone attuatore a comando idraulico (1) che agisce su di un manicotto di spinta (5) alloggiato all’interno di un assale cavo (6). Utilizzando tale dispositivo si realizza un assale rigido (ovviamente trascurando la deformabilità dei suoi componenti) che obbliga le due ruote (o i due assali nel caso del differenziale centrale) ad assumere la stessa velocità di rotazione. In tal modo si può trasmettere il 100% della coppia motrice alla ruota (se applicato al differenziale anteriore o posteriore) o all’assale (se applicato al differenziale centrale) con maggiore aderenza. Il bloccaggio del differenziale può essere utile nel caso di vettura impiegata in condizioni di aderenza diverse sulle ruote motrici, in quanto è possibile trasmettere tutta la coppia in ingresso ad una sola ruota, lasciando completamente scarica l’altra. È doveroso osservare che, un differenziale completamente bloccato condiziona fortemente il comportamento del veicolo in curva, venendo meno, appunto, la funzione base per cui è concepito il differenziale: rendere autonoma la rotazione delle due ruote di un assale. Pertanto è raramente impiegato su veicoli destinati a viaggiare su strada asfaltata ma viene utilizzato solo su alcuni veicoli fuoristrada. Nella maggior parte delle applicazioni è previsto un sistema automatico di disinserimento del bloccaggio del differenziale, che interviene facendo arretrare il manicotto di innesto appena la differenza tra le coppie che la strada applica alle due ruote dell’assale supera un limite prestabilito. Negli autobloccanti propriamente detti, invece, si fa in modo che l’accoppiamento tra i semiassi avvenga in modo automatico (da ciò il nome di “autobloccante”) mediante vari artifici meccanici o mediante l’implementazione di un controllo elettronico che rende la gestione assai più sofisticata. Esistono pure altre tecniche, ad esempio il TCS, per trasferire coppia all’asse con aderenza maggiore, e consistente nel frenare la ruota che, avendo perso aderenza (ad esempio in una partenza da fermo su terreno innevato) è entrata in slittamento.
Parametri caratteristici: Un parametro di confronto fra differenti tipologie di differenziale ad uguale distribuzione di coppia (cioè con rapporto di trasmissione) è il rapporto di bloccaggio b (locking factor) dato dalla massima differenza percentuale di coppia che può esistere fra i due alberi d’uscita, senza che vi sia rotazione relativa (nel caso di distribuzione differenziata si può fare riferimento soltanto al valore assoluto di coppia di frenatura del sistema). Il rapporto di bloccaggio fornisce, pertanto, un’indicazione sulla differenza fra le coppie trasmissibili dalle ruote dello stesso asse e, quindi, un grado di indipendenza l’una dall’altra. Il rapporto di bloccaggio può essere espresso in funzione del rendimento del differenziale (η) mediante l’equazione 1. Un rendimento elevato comporta un valore basso di b e, dunque, una forte dipendenza fra le coppie trasmissibili, viceversa con valori bassi dello stesso. Ad esempio, per un differenziale ordinario con un rendimento del 90% il rapporto di bloccaggio è pari a 0,05. Ciò significa che nel caso particolare in cui una ruota non possa trasmettere coppia, la sua coniugata è in grado di trasferire al suolo il 5% di quella riversata sull’assale. Tale parametro, inoltre, può assumere valori che variano tra 0 e 100%. I valori limite sono caratteristici rispettivamente del differenziale “libero” e di quello bloccabile. Infatti, nel differenziale “open”, per via dell’uguaglianza dei momenti, si ottiene b=0. In quelli bloccabili, invece, la massima differenza di coppia si riscontra quando una sola ruota viene a trovarsi in condizioni di bassa aderenza. In tali condizioni, infatti, risultando il momento applicato sul corrispondente semiasse nullo, tutta la coppia fornita dal motore viene inviata sull’altra ruota per cui l’indice di bloccaggio b è pari al 100%. In un differenziale autobloccante il valore di b può non essere costante, ma dipendere dal valore della coppia trasmessa o dal valore della velocità relativa. È doveroso precisare che, poiché tutti i fenomeni di attrito e, quindi, le relative dissipazioni, si riferiscono a condizioni di moto relativo, nel caso di uguaglianza fra le velocità delle ruote il rendimento interno del differenziale non influenza la distribuzione di coppia, che è quella propria di un rotismo epicicloidale classico, cioè il momento motore si ripartisce equamente sulle due ruote. Quando i due planetari cominciano a ruotare l’uno rispetto all’altro (ω1≠ω3) tra gli elementi interni nasce una coppia resistente che comporta uno sbilanciamento di coppia come evidenziato nella figura 10 del precedente articolo che viene qui riproposta (figura 2). Pertanto, nel caso di veicolo in curva con entrambe le ruote in condizione di aderenza ottimale il differenziale autobloccante non è indispensabile ai fini della motricità e presenta, per contro, l’aspetto negativo legato al suo scarso rendimento meccanico. Infine, è utile sottolineare che in un veicolo in curva, se le due ruote di un asse motore hanno lo stesso coefficiente di aderenza, nella maggior parte dei casi è la ruota interna alla curva che tende a slittare. Ciò avviene per due ragioni. Prima di tutto la ruota, a causa del rendimento interno del differenziale (che sia o no autobloccante), acquista coppia rispetto all’altra dal momento che gira a minor velocità. In secondo luogo, la ruota interna perde aderenza rispetto a quella esterna a causa del trasferimento di carico tra le due. Un altro concetto direttamente correlato alla percentuale di bloccaggio è quello di sbilanciamento di coppia, cioè il grado di asimmetria nella ripartizione della coppia motrice che il differenziale è in grado di determinare. Nel caso di flusso di potenza diretto dal motore alle ruote, può essere espresso dal parametro TBR (Torque Bias Ratio o rapporto di coppia), definito come il rapporto tra la coppia più alta e quella più bassa in uscita dal differenziale. Esso è legato al rapporto di bloccaggio dall’equazione 2, (dalla quale ne consegue che un bloccaggio del differenziale del 100%, è possibile solo con un TBR infinito). Tale andamento è diagrammato in figura 3.
La frenatura del differenziale: La coppia d’attrito può essere generata in diversi modi e, in particolare: – attraverso dischi di frizione; – utilizzando fluidi viscosi introdotti all’interno della scatola del differenziale; – utilizzando ingranaggi a basso rendimento. Un’altra classificazione degli autobloccanti può essere effettuata sulla base della grandezza fisica che innesca la differenziazione di coppia sui semiassi. Esistono tre categorie: – differenziali sensibili alla velocità di rotazione; – differenziali sensibili alla coppia trasmessa; – differenziali con controllo elettroidraulico.
Differenziali sensibili alla velocità di rotazione: differenziale autobloccante con giunto Ferguson: I differenziali sensibili alla velocità di rotazione sono caratterizzati dal fatto che la coppia di attrito non è costante ma è fortemente influenzata dalla velocità relativa dei due alberi di uscita. L’applicazione più diffusa di tale tipologia di autobloccante è rappresentata dal differenziale con giunto viscoso (figura 4). Esso è, dal punto di vista costruttivo, molto simile ad un differenziale libero, dal quale differisce per la presenza di un giunto Ferguson (figura 5). Il giunto viscoso ha un aspetto molto simile ad una frizione multidisco (figura 6). Esso, infatti, presenta una scatola cilindrica sigillata contenente due serie indipendenti di dischi (ovviamente alternati tra loro) collegate tramite accoppiamento scanalato (assialmente scorrevole), rispettivamente all’albero e alla scatola del giunto stesso. I dischi sono posti a distanza ravvicinata gli uni dagli altri e tra essi è interposto un olio siliconico ad alta viscosità che permette la nascita di azioni viscose nel caso di moto relativo tra albero e scatola. Fisicamente i dischi si presentano come in figura 7: quelli collegati alla gabbia esterna presentano dei fori, gli altri delle fessure radiali. Sono tutti realizzati in acciaio ed hanno spessore variabile fra 0.25 e 0.9 mm (ovviamente il disegno è coperto da brevetto). Occorre precisare che la coppia d’attrito può essere generata sia attraverso azioni di tipo viscoso (coppie di dischi “di pressione”), sia di tipo coulombiano (coppie “di attrito”). Il primo caso si presenta per quelle coppie di dischi non affacciate ma poste ad una certa distanza: la coppia trasmessa sarà data dall’equazione di Newton (equazione 3) che lega lo sforzo di taglio (τ) agente sulla superficie di due piastre affacciate a distanza s l’una dall’altra e con velocità relativa ∆V alla viscosità dinamica μ del fluido siliconico. Se si considerano tutti i singoli contributi che si generano tra le n superfici affacciate dal raggio interno (ri) a quello esterno (re) è possibile calcolare la coppia di attrito totale agente sul giunto mediante l’equazione 4 (in essa Δω rappresenta la velocità angolare relativa). Di quest’ultima esiste un’espressione più rigorosa (equazione 5) che tiene conto della variazione della viscosità con lo scorrimento (tramite l’esponente β). Infatti, mentre per i fluidi newtoniani la viscosità non dipende da quest’ultimo, nel caso di fluidi siliconici la viscosità apparente diminuisce all’aumentare della velocità di scorrimento (o shear rate) come evidenziato in figura 8: si parla di flusso pseudoplastico. Per completezza è utile ricordare che, accanto alla viscosità dinamica viene definita un’altra grandezza, la viscosità cinematica ν, legato alla precedente dall’equazione 6 (ρ rappresenta la densità dell’olio). Il valore di viscosità cinematica ottenibile, a seconda del quantitativo d’aria emulsionato, è variabile, nella maggior parte delle applicazioni, da 30.000 a 100.000 cSt (mm2/s). Le azioni di tipo coulombiano, invece, si manifestano per quelle coppie di dischi con un gioco relativo talmente piccolo da non permettere la nascita di azioni viscose: in questo caso l’espressione del momento trasmesso è simile a quella degli accoppiamenti di frizione a dischi assiali (equazione 7) e, pertanto, dipende oltre che dalla geometria, dalla pressione generata dalle azioni viscose (P) a causa della dilatazione del fluido per l’aumento della temperatura, dal coefficiente di attrito (f) acciaio su acciaio e dal numero dei dischi (Z). Statisticamente la distribuzione delle coppie (figura 9) è pari a 50/50%. Essendo le azioni viscose fortemente dipendenti dalla velocità relativa, nel caso di piccoli valori della stessa le coppie scambiate sono modeste, ma, quando essa aumenta si viene a creare un collegamento molto forte tra i dischi che causa un riscaldamento per attrito dell’olio siliconico con conseguente dilatazione e aumento di pressione nella scatola. Per evitare il raggiungimento di pressioni troppo elevate, si include una piccola sacca di aria nella scatola prima della sigillatura, che permette di controllare il valore massimo della pressione raggiungibile. Ovviamente, l’aumento di pressione conseguente alle azioni viscose rappresenta, come detto, la forza spingente per l’accostamento dei dischi (coppie “di attrito”) con il conseguente annullamento del moto relativo tra gli stessi. Ciò comporta una diminuzione della temperatura e, quindi, della pressione, permettendo una sorta di autoregolazione del giunto. Il fenomeno appena descritto è sintetizzato in figura 10 che riporta l’andamento del momento trasmesso all’albero di uscita in funzione dello slittamento fra le due serie di dischi. I fluidi siliconici presentano alcune caratteristiche interessanti che li rendono idonei all’utilizzo in un giunto viscoso. In particolare: – la variazione di viscosità in funzione della temperatura è molto inferiore a quella dei normali oli motore (figura 11); – presentano il fenomeno dell’ “hump” (“gobba”, in inglese), cioè un brusco aumento della coppia a seguito dell’aumento contemporaneo di temperatura e pressione (figura 12).
Questo comportamento permette non solo di garantire il desiderato effetto autobloccante ma protegge il giunto dal surriscaldamento conseguente al continuo scorrimento. Inoltre, poiché i fluidi siliconici più viscosi presentano una riduzione della viscosità apparente minore rispetto a quelli meno viscosi, la scelta è caduta sul siloxano (figura 13) che, appunto, è un fluido siliconico ad alta viscosità. L’elevata viscosità di tale sostanza è legata all’alto numero di collegamenti intermedi (fino a 2.000) tra le molecole che la costituiscono. La scarsa dipendenza della viscosità dalla temperatura, invece, è strettamente connessa alla struttura a spirale delle catene polimeriche (figura 14). Se da un lato l’aumento della temperatura comporta la crescita della distanza media fra le molecole, dall’altro causa lo stiramento delle catene con conseguente crescita dei punti di contatto tra le molecole delle stesse. Gli effetti sulla dinamica di marcia dell’accoppiamento di un differenziale libero ad un giunto viscoso sono sintetizzati nei diagrammi di figura 15, riferito al caso particolare di ruota destra in condizioni di bassa aderenza. Fino al punto A, è presente soltanto una piccola differenza di velocità angolare fra le ruote; quando la destra inizia a slittare (punto B) la velocità si riduce per la ridotta capacità di trazione (diagramma in alto). A questo punto la differenza di velocità fra le ruote diventa sensibile: si generano, pertanto, delle azioni di tipo viscoso, con conseguente trasferimento di forza di trazione alla ruota sinistra. Quando cessano le condizioni di slittamento la coppia motrice torna ad essere distribuita come in un differenziale aperto. Per quanto riguarda il rendimento, la trasmissione con giunto viscoso si comporta in maniera analoga a quella con giunti idraulici: si ha, cioè, un rendimento unitario quando la velocità dei due alberi è uguale. Tale andamento è diagrammato in figura16 insieme alle principali prestazioni di un giunto viscoso. Un aspetto molto delicato connesso alla realizzazione di un giunto viscoso è rappresentato dalla sigillatura verso l’esterno (nel caso di utilizzo come ripartitore centrale in una vettura a trazione integrale) o verso l’olio della trasmissione (nel caso di utilizzo in differenziali anteriori o posteriori), poiché è possibile raggiungere temperature di 200 °C e pressioni di 150 bar. Si utilizzano, pertanto, degli anelli con sezione ad X in gomma fluorurata, in grado di lavorare correttamente con temperature variabili da -40 °C a 250 °C, ma che presentano un’elevata coppia statica provocata dalle tenute rotanti sugli alberi, pari a circa 50 Nm.
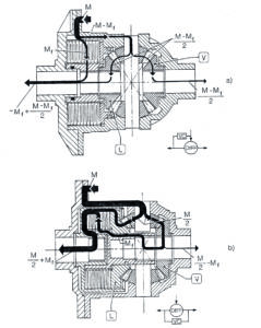
Disposizione in serie e in parallelo: L’accoppiamento di un giunto viscoso con un differenziale libero ha lo scopo, comune agli altri autobloccanti, di opporsi alla nascita di moto relativo tra i semiassi. Sono possibili due configurazioni che prevedono, rispettivamente, l’interposizione del giunto tra la corona del differenziale ed il semiasse adiacente e tra i due semiassi. Il secondo è di più difficile realizzazione ma, a parità di coppie di dischi del giunto, garantisce un indice di bloccaggio (teorico) quadruplo come sarà spiegato più avanti. Le due soluzioni descritte sono riportate in figura 17 rispettivamente come “soluzione A” e “soluzione B”, comunemente denominate disposizione in serie ed in parallelo. Esempi costruttivi delle due soluzioni sono riportati in figura 18, nella quale sono evidenziati anche i flussi di coppia. In particolare, indicando con Mf la coppia d’attrito e con M la coppia in ingresso dalla coppia conica si ottiene (nel caso ideale) che la coppia sul solare lento (Ml) sarà data dall’equazione 8 nel caso di disposizione in serie e dall’equazione 9 nel caso di disposizione in parallelo. Ovviamente le coppie sui rispettivi solari veloci (Mv) possono essere ricavate facilmente per sottrazione dalla coppia totale (equazioni 10 e 11). I corrispondenti indici di bloccaggio saranno dati dalle equazioni 12 e 13. Nel prosieguo della trattazione si farà riferimento al caso ideale di coppia trasmessa solo mediante azioni di tipo viscoso e si supporrà la viscosità costante, in modo tale da poter esprimere la coppia di attrito come una funzione lineare della velocità relativa Δω (equazione 14). Infatti, tutti i parametri che compaiono nell’equazione 4 (tranne la viscosità) sono costanti una volta fissato il giunto (numero di dischi, fluido impiegato, ingombri). In questo modo è possibile fare delle interessanti comparazioni tra le due possibili configurazioni. Nel caso di disposizione in serie Δω sarà pari alla differenza tra la velocità del portatreno (ωP) e quella del semiasse al quale è accoppiato (ωB), nel caso di disposizione in parallelo sarà data dalla differenza tra le velocità dei due semiassi (ωA e ωB). Ricordando la formula di Willis (equazione 15) è possibile ricavare le espressioni della velocità relativa nei due casi considerati, date, rispettivamente, dalle equazioni 16 e 17. Sostituendo queste espressioni nell’equazione 14 e ricordando le equazioni 12 e 13 è possibile esprimere gli indici di bloccaggio b in funzione della velocità relativa tra i due semiassi mediante le equazioni 18 (disposizione in serie) e 19 (disposizione in parallelo). Come anticipato, pertanto, a parità di ingombri la disposizione in parallelo permette di ottenere un indice di bloccaggio quadruplo rispetto a quella in serie (ovviamente nel caso ideale di coppia trasmessa solo mediante azioni di tipo viscoso). Poiché la coppia di attrito cresce linearmente con la velocità relativa dei due semiassi, ne consegue che essa assume valori sensibili solo nel caso in cui tale parametro raggiunga valori importanti. Pertanto, in condizioni di normale utilizzo, ad esempio nella percorrenza di una curva ad ampio raggio, la coppia generata è trascurabile e non influenza più di tanto il carattere sovra-sottosterzante del veicolo: l’autobloccante, cioè, si comporta come un normale differenziale libero. In alcune circostanze, quindi, il differenziale con giunto viscoso riesce a conciliare le due opposte esigenze di rendere indipendente la rotazione delle ruote motrici in curva e di evitare lo slittamento di una ruota in condizioni di aderenza precaria. Ovviamente, per come è concepito, tale autobloccante presenta dei limiti intrinseci. Per prima cosa non può impedire che si verifichino slittamenti delle ruote motrici in quanto, generando coppia solo nel caso di moto relativo dei semiassi, può solo attenuare uno slittamento già manifestatosi.
Inoltre, l’azione presenta un certo ritardo perché la coppia assume valori non trascurabili solo nel caso di Δω elevati. Tale ritardo è accentuato dal fatto che il fenomeno dell’hump si verifica per particolari combinazioni di temperatura e pressione che, ovviamente, non si presentano istantaneamente. Inoltre la sua azione è, spesse volte, particolarmente brusca. Un altro limite è rappresentato dal fatto che, essendo la coppia d’attrito strettamente connessa all’aumento di temperatura del fluido siliconico, può accadere che il differenziale intervenga anche in assenza di slittamento di una delle ruote motrici. Il fluido, infatti, può riscaldarsi anche a causa dell’aumentata temperatura esterna o per il moto relativo tra le due serie di dischi del giunto che si verifica, ad esempio, guidando su di un percorso ricco di curve. Occorre, infine, sottolineare la possibile interferenza con l’ABS (che, ovviamente, si verifica solo in frenata). Quest’ultimo, infatti, ha il compito di modulare la pressione frenante nel caso di pneumatico in condizioni limite di aderenza (cioè in procinto di slittare). Per fare questo, accanto ad un’unità idraulica che serve essenzialmente per dare o togliere pressione a ciascuna ruota in funzione degli output della centralina (che stima lo slittamento dei pneumatici), sono previste delle ruote foniche per misurare la velocità angolare dei pneumatici. Dalla loro analisi è possibile calcolare lo slittamento di ciascuna ruota e capire se una di esse si sta bloccando. Si intuisce, pertanto, che un sistema che obbliga le ruote motrici a muoversi alla stessa velocità, indipendentemente dal fatto che la vettura si trovi in accelerazione od in frenata, crea seri problemi alla logica di controllo propria dell’ABS (a meno che quest’ultima utilizzi altri segnali oltre alla velocità angolare delle ruote). In molti casi, il giunto viscoso viene utilizzato, senza essere accoppiato ad un differenziale classico, come ripartitore centrale per veicoli a trazione integrale. È importante sottolineare che, la prima auto con trazione integrale prodotta in serie, cioè la Jensen Interceptor FF del 1968 (figura 19), prevedeva un ripartitore centrale Ferguson (FF sta, infatti, per Ferguson Formula). Per concludere può essere interessante ricordare che la Lancia Delta S4 del “Gruppo B” (figura 20), uno dei modelli da competizioni che più ha fatto sognare gli appassionati, prevedeva un differenziale centrale viscoso di tipo epicicloidale con ripartizione di coppia “standard” pari a 30/70% tra anteriore e posteriore (i differenziali anteriore e posteriore, invece, erano di tipo autobloccante ZF a frizioni multiple con percentuali di bloccaggio del 60% al posteriore e del 40% all’anteriore).


























